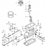
admin 4驱图纸 7.手柄,组合踏板 2020-06-24 4驱1.8T手柄组合踏板图纸(1998–2006) (本站由TTMK1车主videohive强力驱动)站长微信:videohiveTTMK1 » 4驱1.8T手柄组合踏板图纸(1998–2006)